Язык
Валюта
€
$
Br
р.
Корзина
0 товар(а,ов) - 0.00Br
В корзине ничего нет!
Добро пожаловать вы можете
войти
или
зарегистрироваться
.
Главная
Каталоги
Мой профиль
Отложено (0)
Корзина
Вы смотрели
580 745
KW
Купить
Начало
»
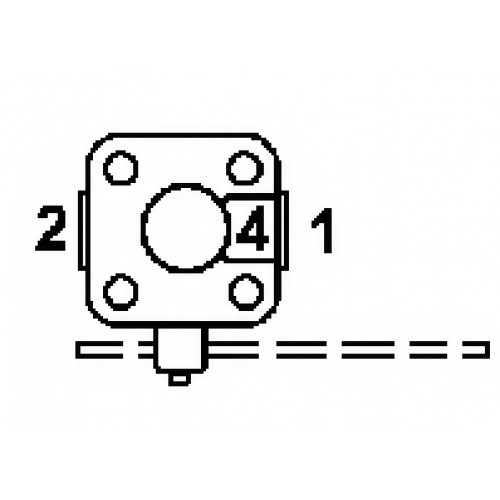
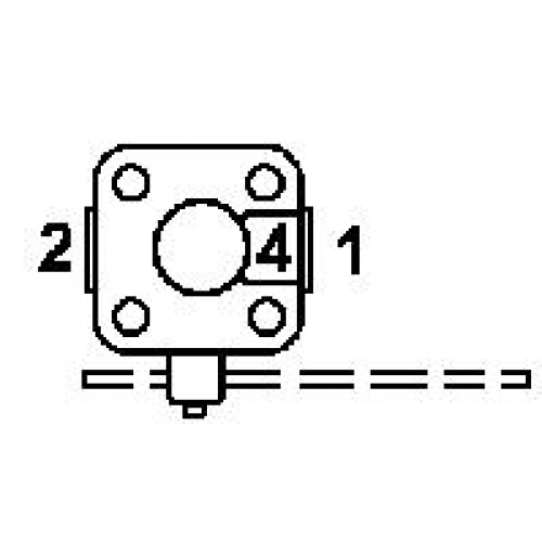
475 710 007 0 WABCO Регулятор тормозных сил
475 710 007 0 WABCO Регулятор тормозных сил
Производитель:
WABCO
Артикул:
475 710 007 0
Купить
- ИЛИ -
Отложить
Отзывов: 0
|
Оставить отзыв
Поделится
Описание
Спецификация
Отзывы (0)
Применяемость
Аналогичные товары (3)
475 710 007 0 WABCO Регулятор тормозных сил
Вес [кг]
1,647
Вид эксплуатации
NULL
Отношение регулирования
1:8
Оставить отзыв
Ваше Имя:
Ваш Отзыв:
Примечание:
HTML не поддерживается!
Рейтинг:
Плохо
Хорошо
Введите код указанный ниже:
Продолжить
0 481 036 115
BOSCH
Купить
81521616280
MAN
Купить
92CT2K433A2A
FORD
Купить
Тэги:
,
JAPANCARS.RU
JapanCars.ru - Минск © 2025